numero Sfoglia:0 Autore:Editor del sito Pubblica Time: 2022-05-25 Origine:motorizzato
Design a catena di taglio del parafango in gomma tipo Cell
Quando la nave attracca al molo, la maggior parte delle navi entrerà prima in collisione con il molo a 1/3 e 1/4 di lunghezza dalla prua o dalla poppa.Come equipaggiamento antiurto del molo, il parabordo in gomma deve sopportare non solo la normale forza d'urto perpendicolare alla parete della banchina del molo, ma anche la forza tangenziale parallela alla parete della banchina del molo.In condizioni operative normali, il parafango in gomma del tipo a cellula può sopportare la forza tangenziale della nave.Tuttavia, quando la deformazione a taglio della canna del parafango in gomma supera i requisiti specificati, la catena di taglio deve impedire la deformazione a taglio della canna del parafango in gomma.Pertanto, la catena di taglio svolge un ruolo importante nel garantire il normale funzionamento e prestazioni ragionevoli del parafango del tamburo.
Di seguito viene introdotto il metodo di progettazione della catena di taglio del parafango in gomma del tamburo.
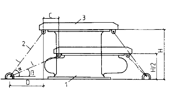
La catena di taglio è generalmente disposta su entrambi i lati del parabordo in gomma, con un'estremità fissata sulla piastra antiurto e l'altra estremità fissata sulla parete della banchina (Figura I).La catena di taglio generalmente adotta la catena ordinaria, le sue specifiche e la quantità sono determinate dalle specifiche del parafango in gomma, dalla disposizione del parafango in gomma e dalle dimensioni della piastra antiurto.

Figura I
Il principio di progettazione della catena di taglio è garantire che la deformazione a taglio del parafango in gomma cellulare non superi i requisiti specificati nelle condizioni di ormeggio più sfavorevoli.Si presume che il tasso di deformazione di progetto del parafango in gomma del tamburo sia del 50% e che la deformazione a taglio consentita sia C. Come mostrato nella Figura 2
C: Deformazione a taglio ammissibile di un parafango in gomma del tipo a tamburo;
D:Proiezione orizzontale della catena di taglio sulla parete di banchina del parafango in gomma in condizioni di scarico;
H: altezza parafango in gomma tamburo.
La catena di taglio del parafango in gomma del tipo a cellula deve essere disposta orizzontalmente su entrambi i lati del parafango in gomma
La lunghezza l è calcolata secondo la formula.Un'estremità è fissata sulla piastra antiurto e l'altra estremità è fissata sull'anello a U incorporato